Ò»¡¢ÏîÄ¿½éÉÜ
¡°ÔÃÆóÔÆ¡±ÊÇÍþÁ®Ï£¶û¹ÙÍø¼¯ÍÅΪ»ý¼«½ÓÓ¦¹ú¼Ò¡°ÖйúÖÆÔì2025¡± ¡°»¥ÁªÍø+¡±Ðж¯¼Æ»®£¬ÒÔ¼°½ËÕÊ¡¡°ÍòÆóÉÏÔÆ¡±¹¤³Ì¼°Ñζ¼»á¡°Ç§ÆóÉÏÔÆ¡±×¨ÏîÐж¯ÒªÇó£¬Îª¹¤Òµ»¥ÁªÍø×¨ÃÅ´òÔìµÄ¹¤ÒµÔÆÆ½Ì¨¡£¸Ãƽ̨ÔÚ°¢ÀïÔÆ½¹µãµÄ·ÉÌìÔÆ²Ù×÷ϵͳ»ù´¡ÉÏ£¬½ÓÄɼܹ¹ÁìÏȵÄÂþÑÜʽͨ¹ýÐÍרÓÐÔÆÅÌË㣬ΪÐÐÒµ¿Í»§Ìṩ´ó¹æÄ£¡¢¸ß¿É¿¿¡¢×Ô¶¯»¯¡¢¶¨ÖÆ»¯µÄÔÆÅÌËã¼°´óÊý¾ÝЧÀÍ£¬×ÊÖú¿Í»§´Ó·±ËöµÄÔËάÊÂÇéÖнâÍѳöÀ´£¬¸üרעÓÚÒµÎñ²ãÃæºÍÊý¾Ý¼ÛÖµ£¬´Ó¶øÔÚÊý¾Ýʱ´úÕ¼¾ÝÁìÏÈְλ¡£
Æû³µ½ðÈÚÈ«±Õ»··âװϵͳÊǰ²ÅÅÔÚÔÃÆóÔÆÉÏ£¬ÓÉÍþÁ®Ï£¶û¹ÙÍøÈÚ×Ê×âÁÞÓÐÏÞ¹«Ë¾ÎªÂú×ãÆû³Ã÷ÈÕû³µÏúÊÛ¡¢ÍØÕ¹ÈÚ×Ê×âÁÞÒµÎñ£¬ÔöǿϵͳµÄÕ÷ÐŽâÎö¡¢Í³¼ÆÆÊÎöÒÔ¼°´óÊý¾ÝÀûÓöø½¨Á¢µÄ¹«¹²Ð§ÀÍÆ½Ì¨¡£
¶þ¡¢ÏµÍ³½¨ÉèÇé¿ö
ÍþÁ®Ï£¶û¹ÙÍøÈÚ×Ê×âÁÞÆû³µ½ðÈÚÆ½Ì¨×Ô2018Äê4ÔÂÕýʽÆô¶¯ÆðÀ´£¬ÔÚÏîÄ¿Áìµ¼µÄÖ§³Ö¡¢Ðµ÷¼°È«ÌåÏîÄ¿×é³ÉÔ±µÄÅäºÏŬÁ¦Ï£¬¾¹ý 8¸öÔ½ôÕÅÓÐÐòµÄϵͳʵʩÊÂÇ飬ÏÖÒÑÍê³ÉϵͳÉÏÏß¡£
ϵͳ½¨ÉèÇé¿ö£ºÏîĿʵʩ×éͨ¹ýǰÆÚ¶Ô¿Í»§·½µÄ¸÷²¿·ÖÐèÇóÊÕÂÞ¡¢ÒµÎñµ÷ÑУ¬¶ÔÏÖÓлù´¡Êý¾Ý¼°ÒµÎñÁ÷³ÌÊáÀíÓÅ»¯£¬Íê³ÉÁ˶Ôϵͳ½ø¼þ¡¢ÔËÓª¡¢·ç¿Ø¡¢²úÆ·¡¢²ÆÎñ¡¢×ʹܡ¢ÏàÖúͬ°éµÈÄ£¿éµÄÐèÇó½øÐÐÆÊÎöÕûºÏ¡£Í¨¹ý¼¸¸öÔµÄʱ¼ä¶ÔÆû³µ½ðÈÚÈÚ×Ê×âÁÞÒµÎñµÄ¿ª·¢²âÊÔ£¬ÒÑʵÏÖÈ«Á÷³ÌÒµÎñ±Õ»·ÖÎÀí£¬¼«´óµØ¼õÉÙÁËÈËΪ¹ýʧ¡£
ÅàѵÍê³ÉÇé¿ö£ºÒÑÀֳɿªÕ¹ÖÎÀíÔ±Åàѵ 2³¡£¬Òªº¦Óû§Åàѵ 16³¡£¬Ìṩ¸÷²¿·ÖÅàѵ½Ì²Ä¼°²Ù×÷ÊÖ²á 10·Ý¡£
Èý¡¢Ö÷Òª¹¦Ð§ËµÃ÷
½èÖúÔÃÆóÔÆÆ½Ì¨ÓÅÊÆ´î½¨µÄÆû³µ½ðÈÚÆ½Ì¨£¬¿ÉÒÔÐÖúÍþÁ®Ï£¶û¹ÙÍøÈÚ×Ê×âÁÞ½¨Á¢Ò»¸öÒÔÆû³µÎª½¹µãµÄÈÚ×Ê×âÁÞÒµÎñÓ¦ÓÃÆ½Ì¨£¬¾ßÌå¿ÉʵÏÖÒÔϹ¦Ð§£º
1£®ÔöǿҵÎñÈ«Á÷³ÌÖÎÀí¿ØÖÆ
¹«Ë¾Æ¾¾ÝÍþÁ®Ï£¶û¹ÙÍøÈÚ×Ê×âÁÞÒµÎñÐèÇó´î½¨Ò»¸ö´Ó×Ô¶¯»¯½ø¼þÉóÅú¡¢ÔËÓªÖÎÀí£¬ÓÉ·ç¿Øµ½²ÆÎñÖÎÀíʵÏÖÈ«Ãæ±Õ»·µÄÓ¦ÓÃÆ½Ì¨¡£¸Ãƽ̨һ¿É¹æ·¶ÒµÎñÁ÷³Ì×ßÏò£¬½µµÍÈ˹¤ÉóºËΣº¦£¬ÊµÏÖÁ÷³ÌÁ÷תµÄ¸ßЧÖÎÀí£¬Óë²ÆÎñÓ¦ÊÕÓ¦¸¶µÄÓÐЧ¼¯³É£»¶þ¿ÉÔöÇ¿²úÆ·ÖÎÀí£¬ÊµÏÖ¿ÉÔ¤¹ÀµÄ²úÆ·ºÏÀíÐÔ¡¢·ç¿ØÌåϵµÄ½ôÃÜÏνӣ»Èý¿É¹æ·¶×ʲúÖÎÀí£¬Í¨¹ýϵͳÌáǰԤ֪×ʲú³µÁ¾µÄ¾ßÌåÐÅÏ¢£¬ÓÐÐ§ÖÆÖ¹²»ÐëÒªµÄ×ʲúÒÅʧΣº¦£¬Í¬Ê±¿ÉÒÔ½«×ʲú´ò°ü×ªÒÆ±äÂô£¬²¢Í¨¹ý±¨±íÊý¾ÝÊµÊ±ÕÆÎÕ×ʲú×îж¯Ïò¡£
2£®ÔöÇ¿ÏàÖúͬ°éÖÎÀí¿ØÖÆ
ϵͳÖ÷Òª°üÀ¨ÏàÖúͬ°é¿ª»§¡¢ÆóÒµÐÅÏ¢ÖÎÀíµÈÁ½´óÄ£¿é£¬ÊµÏÖÁËÖ§³Ö¶àÖÖÀàÐ;ÏúÉ̽øÐпª»§ÉêÇ룬·ç¿Ø¡¢ÔËÓªÉóºË¾ÏúÉÌ¿ª»§×ÊÁÏ£¬Ö§³Öƽ̨¼ì²ìÖÖÖÖ¾ÏúÉÌ»ù´¡ÐÅÏ¢¡¢Ð޸ľÏúÉÌÐÅÏ¢¼°Ïà¹Ø»ù´¡Êý¾ÝÅäÖõȹ¦Ð§¡£
3£®ÊµÏÖ¿Í»§ÐÅÏ¢¾«×¼ÖÎÀí
ϵͳ¿ÉʵÏÖ¿Í»§ÔÚ¿Í»§¶Ë½øÐÐÊÖ»úºÅ¡¢½ô¼±ÁªÏµÈË¡¢Í¨Ñ¶µØµãµÄ±ä»»£¬Ò²¿ÉÌá½»ÒøÐÐÐÅÏ¢±ä»»¡¢ÌõÔ¼±ä»»¡¢ÍÑÏÕÀíÅâµÄÉêÇ룬½»ÓÉ×âºóÈËÔ±½øÐÐÉóºË¡£×âºóÈËÔ±¿ÉÒÔÆ¾¾Ý¿Í»§Ìá½»µÄÉóºËÐÅÏ¢½øÐÐÖÖÖÖÎļþµÄÔÚÏßÉú³ÉÊÂÇé¡£
ËÄ¡¢ÏµÍ³½á¹ûչʾ
1£®Îª×ʲúÖÎÀíÒµÎñµÄÖ´ÐÐÌṩԤ¾¯¼°±¨±íÖ§³Ö£¬¶ÔÓâÆÚ¿Í»§Çé¿ö½øÐÐÆÊÎö£¬Ö§³ÖÓâÆÚÌìÊýÔ¤¾¯£¬ºóÐø¶Ô¿Í»§»¹¿îÄÜÁ¦¿¼ºËÌṩÒÀ¾Ý¡£

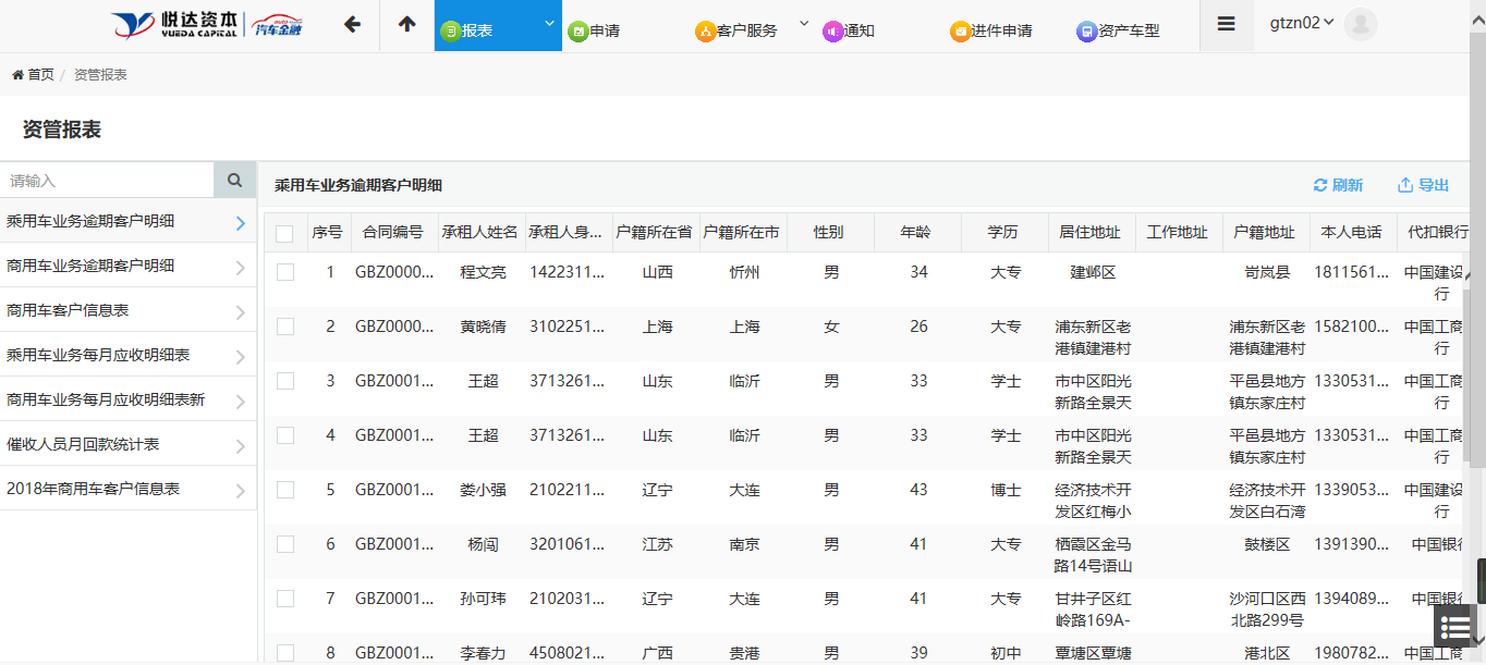
³ËÓóµÒµÎñÓâÆÚ¿Í»§Ã÷ϸ
2£®ÎªÏµÍ³½ø¼þÅäÖÃÉóÅúÉóºË³Ø£¬¼È¿ÉÒÔÓɲ¿·ÖÁìµ¼Ö¸ÅÉÆ±¾Ý¸ø¾ßÌåÔ±¹¤£¬Ò²¿ÉÒÔϵͳ×Ô¶¯Æ¾¾Ýʵ¼ÊÇé¿ö·ÖÅÉÆ±¾Ý¸øÔ±¹¤£¬ÊµÏÖÉóÅúÉóºË³ØÖÇÄÜ»¯£¬°ü¹Üÿ¸öÁ÷³ÌÁ÷תµÄЧÂÊ»¯¡£

½ø¼þÉóÅúÉóºËÃ÷ϸ
3£®¶ÔÆû³µ½ðÈÚ²úÆ·½øÐÐϵͳÖÎÀí£¬´Ë±í°üÀ¨Á˲úÆ·¿Í»§ÀûÂÊ¡¢Êµ¼ÊÀûÂÊ¡¢Ê׸¶½ð¶î¡¢ÈÚ×ʶîµÈÐÅÏ¢£¬µ±¿Í»§ÔÚÓëÔËÓª¿Í·þ²¿·ÖÏàͬʱ£¬¿Í·þÒ²ÄÜʵʱ¼û¸æ¿Í»§µÄÿÆÚ»¹¿î½ð¶î¼°»¹¿îʱ¼äµÈÏà¹ØÐÅÏ¢¡£

²úÆ·Ã÷ϸ±í
ÍþÁ®Ï£¶û¹ÙÍøÈÚ×Ê×âÁÞÆû³µ½ðÈÚÆ½Ì¨ÒÑÔÚ¹«Ë¾µÄ¸÷¸öÒµÎñÖÎÀíÖз¢»Ó×ÅÖØÒª×÷Óã¬Æäͨ¹ý¹«Ë¾µÄ½ø¼þ¡¢ÒµÎñ¡¢²úÆ·¡¢²ÆÎñµÈ¸÷¸ö²¿·Ö¼°ÒµÎñ»·½ÚµÄ¼¯³É£¬ÐγÉÁËÒ»¸ö¹²Ïí¡¢ÊµÊ±¡¢×¼È·µÄÒµÎñÁ÷³ÌÖÎÀí£¬ÓÐЧµØÖ§³Ö¾Óª¾ö²ß£¬µÖ´ïÏîĿԤÆÚµÄÆû³µ½ðÈÚÖÎÀíÒªÇó£¬Í¬Ê±ÄÜÇ¿»¯¶Ô²úÆ·ÖÊÁ¿µÄ¿ØÖÆ¡¢Ìáǰʶ±ðΣº¦¡¢½µµÍÈËÔ±±¾Ç®£¬ÓÐЧµØÌá¸ßÁ˸÷²¿·Ö¶Ô¹æ·¶ÖÎÀíµÄÈÏʶ£¬ÎªÆóÒµºã¾Ã¡¢Îȶ¨ºÍÁ¬ÐøµØÉú³¤µÓÚ¨Á˼áʵµÄ»ù´¡¡£


ËÕ¹«Íø°²±¸ 32099502000262ºÅ